Список форумов У-Син
HomeFAQПоискПользователиГруппыРегистрацияВойти и проверить личные сообщенияВход
"биотрон-цзян"

 
Начать новую тему   Ответить на тему    Список форумов У-Син -> Сопутствующие методы лечения
Предыдущая тема :: Следующая тема  
Автор Сообщение
Usin



Репутация: +2    

Зарегистрирован: 25.11.2012
Сообщения: 2285
Откуда: Ижевск

СообщениеДобавлено: Чт Окт 06, 2016 6:29 am    Заголовок сообщения: "биотрон-цзян" Ответить с цитатой

Устройство для передачи натурального информационного питания биологическому объекту "биотрон-цзян"

Авторы патента:
Цзян Каньчжэн Юрий Владимирович



Использование: в области, обеспечивающей поддержание жизненных сил биологическому объекту. Сущность: устройство для передачи натурального информационного питания биологическому объекту содержит сборную камеру, включающую корпус и две антенные системы, укрепленные на его сторонах с образованием отделения для приема информационного питания от источника биополя и отделения для воздействия на биологический объект. В первом отделении, в зоне фокуса антенной системы, установлено средство для размещения источника биополя, в качестве которого могут быть использованы молодые растения или животные. В другом отделении, в зоне фокуса антенной системы, размещено средство для поддержания объекта. Около него со стороны, противоположной антенной системе, установлена дополнительно группа микроволновых линз. 7 з. п. ф-лы, 5 ил.

Изобретение относится к области, обеспечивающей поддержание жизненных сил биологического объекта.

Организм для свой жизни из внешней среды постоянно получает пищу: белки, жиры, углеводы, минеральные вещества, витамины.

Изобретение основано на том, что в процессе жизнедеятельности организма их атомы и молекулы, составляющие его клетки, связаны между собой биоэлектромагнитными полями, являющимися носителями биологической информации. Восполнение биополя объекта или отдельных органов может быть осуществлено за счет натурального информационного питания, получаемого от другого живого биообъекта.

Известно устройство для передачи натурального информационного питания биологическому объекту, содержащее источник биополя и средства для размещения источника и объекта [1] В качестве источника биополя используют кисти рук оператора, совершающего около тела объекта определенные движения.

Однако в этом случае использован источник информационного питания того же вида, что и биологический объект-потребитель. При этом источник используется многократно для работы с разными объектами. Но известно, что биополе действует взаимообразно. Поэтому источник получает от объекта нежелательное воздействие, которое может передать другим объектам при общении с ними. Кроме того, воздействие биополя недостаточно эффективно, поскольку осуществляется между двумя биологическими объектами и не усиливается никакими приборами.

В данном изобретении решается техническая задача: устранение вредного влияния на биологический объект биополя источника и повышение эффективности воздействия на объект и потребления им натурального информационного питания.

Эта техническая задача решается за счет того, что устройство, включающее источник биополя и средства для размещения источника и объекта, содержит горизонтальную сборную камеру, включающую цилиндрический корпус и две антенные системы, каждая из которых имеет рефлектор и установленную соосно с ним микроволновую линзу, при этом первая антенная система укреплена на одной торцевой стороне корпуса с образованием отделения для приема информационного питания от источника биополя, а вторая антенная система укреплена на другой торцевой стороне корпуса с образованием отделения для воздействия на биологический объект, причем средства для размещения источника биополя и биологического объекта расположены в зоне фокусов соответствующих антенных систем, а около последнего средства со стороны, противоположной антенной системе, установлена группа микроволновых линз. Отделения могут быть разделены укрепленной в корпусе перегородкой, выполненной из материала, проницаемого для биоэлектромагнитного поля. В качестве источника биополя могут быть использованы молодые растения со сроком вегетации 1-2 недели или крупные и мелкие животные в возрасте до половины периода их развития.

Изобретения поясняются чертежами, где на фиг. 1 изображено устройство для передачи натурального информационного питания биологическому объекту, в разрезе; фиг. 2 разрез по А-А на фиг. 1; фиг. 3 разрез по В-В на фиг. 1; фиг. 4 разрез по С-С на фиг. 1; фиг. 5 узел крепления рефлектора антенной системы.

Устройство для передачи натурального информационного питания биологическому объекту содержит горизонтальную сборную камеру, включающую цилиндрический корпус 1, выполненный, например, из дюралюминия, и две антенные системы. Первая из них является приемником биоэлектромагнитного излучения и укрепления на одной торцевой стороне корпуса с образованием вместе с прилегающей к ней частью корпуса 1 отделения 2 для приема информационного питания от источника 3 биополя. Вторая антенная система служит для приема и направленной передачи биоэлектромагнитного излучения и укрепления на другой торцевой стороне корпуса 1 с образованием вместе с прилегающей к ней частью корпуса 1 отделения 4 для воздействия на биологический объект 5. Первая антенная система содержит параболический рефлектор 5 и установленную соосно с ним микроволновую линзу 7. Вторая антенная система содержит параболический рефлектор 8 и установленную соосно с ним микроволновую линзу 9.

Каждый из рефлекторов 6, 8 укреплен своей торцевой стороной в установочной рамке 10 посредством ушек 11. Рамка снабжена опорной системой, включающей расположенную на фундаменте плиту 12 и наклонные стойки 13. По краям каждый рефлектор имеет отбортовку, к которой закреплены рейки 14, охватывающие цилиндрический корпус 1 для обеспечения жесткости. Корпус 1 имеет опору в виде ложемента 15.

В корпусе 1 для отделений 2 и 4 выполнены двери 16, 17 соответственно, являющиеся частью поверхности корпуса и имеющие форму дуги окружности. Двери 16 и 17 шарнирно прикреплены к стойкам 18, 19.

В отделении 2 в зоне фокуса первой антенной системы располагают средство для размещения источника 3 биополя, которое может быть выполнено в виде передвижного стеллажа 20 на колесах 21. Он устанавливается на опорной площадке 22, расположенной напротив двери 16. Площадка 22 укреплена на стойках 23, проходящих через прорези в корпусе 1 и опирающихся на фундамент. На площадке 22 выполнены боковые направляющие 24 для колес 21 стеллажа. Сзади установлен ограничитель перемещения стеллажа 20 (на чертеже не показан). В отделении 4, в зоне фокуса второй антенной системы, расположено средство для размещения биологического объекта 5 (или нескольких объектов), выполненное в виде многоярусной или одноярусной кровати 25, опорные элементы которой через прорези в корпусе 1 опираются на фундамент.

В корпусе 1 выполнен пол 26 для перемещения по нему людей. Опоры 27 для пола расположены так, что опираются через цилиндрический корпус 1 в ложемент 15.

Отделения 2 и 4 могут быть разделены укрепленной в корпусе 1 перегородкой 28, выполненной из материала, проницаемого для биоэлектромагнитного поля, например из полиэтилена (может быть цветного полиэтилена) или пенопласта.

В корпусе 1 выполнено несколько отверстий 29 с латунной мелкоячеистой сеткой (размер ячеек до 1 мм) для сообщения с окружающей средой.

Около средства для размещения биологического объекта со стороны, противоположной второй антенной системе, установлена группа микроволновых линз 30, количество которых соответствует числу ярусов кровати 25 для размещения биообъектов. Опора 31 этой системы линз 30 расположена на полу 26. Возможно регулируемое перемещение линз по горизонтали и по вертикали. Общая площадь всех линз не больше 10% от площади поперечного сечения корпуса 1.

В корпусе 1 установлены светильники 32, кварцевые лампы 33. Вторая антенная система дополнительно снабжена выпуклым металлическим зеркалом, расположенным в зоне фокуса рефлектора 8 и линзы 9 и обращенным выпуклой стороной к рефлектору 8 с обеспечением концентрирования электромагнитного излучения биополя в узкий пучок для направления его на мелкий биологический объект (на чертеже не показано). Корпус может также быть выполнен таким, что вместе с укрепленными на его противоположных сторонах антенными системами образует камеру, имеющую сферическую форму или имеющую в сечении форму эллипса (на чертежах не показаны).

С устройством работают следующим образом.

Через дверь 17 биологические объекты, например несколько человек, поступают в отделение 4 и размещаются на ярусах кровати 25, а через дверь 16 в отделение 2 подают передвижной стеллаж 20 и размещают на его полках источники 3 биополя. В качестве их могут быть использованы молодые растения со сроком 1-2 недели от начала вегетации, например, выращенные в горшках пшеница, кукуруза, горох, соя, капуста, цветы и их культуры без колючек. При этом посадка зерен должна быть до такой степени густой, чтобы зернышко прикасалось к зернышку. Во время сеанса через каждые 2 часа необходимо менять горшки с растениями. Также в качестве источника биополя могут быть использованы животные в возрасте до половины периода их развития (например мыши, зайцы, кролики, собаки, олени, медведи и т.д.). Их следует помещать в клетки, выполненные из неметаллического материала. Продолжительность сеанса должна составлять от 2 до 4 часов ежедневно до восстановления биополя и 8 часов ежедневно для омоложения. Целесообразно проведение 10 сеансов. Использование биополя животных возможно только для лиц, не планирующих в дальнейшем рождения детей.

Первая антенная система воспринимает биоэлектромагнитное излучение с той стороны источника 3 биополя, которая обращена к этой системе, формирует и раскрывает плоский фазовый фронт и направляет его на вторую антенную систему. А с нее биоэлектромагнитное излучение фокусируется в зону фокуса этой системы, где размещен биологический объект 5 (или несколько объектов 5). В этой зоне образуется структура биоэлектромагнитного поля аналогичная источнику. Это биополе воздействует на объект 5, обеспечивая передачу ему натурального информационного питания. Биоэлектромагнитное излучение со стороны источника 3 биополя, не обращенной к первой антенной системе, воспринимается группой микроволновых линз 30, фокусируется и передается ими на определенные участки биологического объекта 5, особо нуждающиеся в получении натурального информационного питания.

Так же устройство можно использовать для передачи натурального информационного питания не только человеку, но и биообъектам другого вида. Например, можно помещать в отделение 4, в зону фокуса 2-ой антенной системы пророщенные семена овощных и зерновых культур, фруктов, кормовой травы, лекарственных растений, цветов, семена деревьев и так далее. В качестве источника 3 биополя при этом выбирается такой, характерные черты которого желательно передать объекту-реципиенту. Например, запланировано вырастить кукурузу с множеством стеблей и высокой урожайностью и зерном с повышенным содержанием белка. В этом случае в качестве источника 3 биополя используют культуру пшеницы. Получен результат: урожайность от 30 до 100% выше, чем в контрольной группе, имеется повышенное удельное содержание белка.

Или, например, запланировано вырастить огурцы, имеющие своеобразный аромат и вкус. Для этого в качестве источника 3 биополя используют зеленую массу дыни (стебель, листья) или плоды ананаса, яблок, мандарина и так далее. Полученные огурцы имеют соответственно вкус дыни, ананаса и т.д. то есть вкус источника биополя. Продолжительность сеанса 3 4 суток без перерыва, но источник меняется примерно через 4 часа. Пророщенные семена во время сеанса сохраняются влажными, моются 2 3 раза в день чистой водой. После воздействия можно высаживать на поле.

Также возможно воздействовать за зародыши, клетки, ткани животных. При этом целесообразно использовать устройство, в котором вторая антенная система снабжена выпуклым металлическим зеркалом, расположенным в зоне фокуса рефлектора 8 и линзы 9 (на чертеже не показано). Биологический объект размещают в зоне фокуса этой антенной системы.

Выполнение данного устройства в виде сборной камеры, включающей цилиндрический корпус и две антенные системы, а также наличие дополнительной антенной группы и ее размещение на фокусном расстоянии от биологического объекта обеспечивает возможность более полного отбора информационного питания от источника биоэлектромагнитного поля и фокусированную передачу его объекту. Выполнение магнитных систем в виде параболического рефлектора и расположенной соосно с ним (или прикрепленной к нему) микроволновой линзы обеспечивает повышение коэффициента усиления и направленного действия систем.

Все это способствует эффективности воздействия на объект и улучшает потребление им натурального информационного питания.

Данное устройство устраняет возможное вредное влияние на биологический объект биополя источника, поскольку в качестве последнего используется не один и тот же для разных объектов человек, а другие живые организмы, подлежащие замене при проведении сеансов.

Это устройство можно использовать для передачи натурального информационного питания одновременно нескольким объектам.

Данное изобретение путем передачи биологическому объекту натурального информационного питания обеспечивает поддержание его жизненных сил.

1. Устройство для передачи натурального информационного питания биологическому объекту, содержащее источник биополя и средства для размещения источника и объекта, отличающееся тем, что устройство содержит сборную камеру, включающую корпус и две антенные системы, каждая из которых имеет рефлектор и установленную соосно с ним микроволновую линзу, при этом первая антенная система укреплена на одной торцевой стороне корпуса с образованием отделения для приема информационного питания от источника биополя, а вторая антенная система укреплена на противоположной торцевой стороне корпуса с образованием отделения для воздействия на биологический объект, причем средства для размещения источника биополя и биологического объекта расположены в зоне фокусов соответствующих антенных систем, а около последнего средства со стороны, противоположной антенной системе, установлена группа микроволновых линз.

2. Устройство по п.1, отличающееся тем, что корпус выполнен цилиндрическим, а антенные системы укреплены на его торцевых сторонах.

З. Устройство по п.1, отличающееся тем, что корпус выполнен таким, что вместе с укрепленными на его противоположных сторонах антенными системами образует камеру, имеющую сферическую форму.

4. Устройство по п. 1, отличающееся тем, что корпус выполнен таким, что вместе с укрепленными на его противоположных сторонах антенными системами образует камеру, имеющую в сечении форму эллипса.

5. Устройство по п.1, отличающееся тем, что отделения разделены укрепленной в корпусе перегородкой, выполненной из материала, проницаемого для биоэлектромагнитного поля.

6. Устройство по п.1, отличающееся тем, что вторая антенная система дополнительно снабжена выпуклым металлическим зеркалом, расположенным в зоне фокуса рефлектора и линзы и обращенным выпуклой стороной к рефлектору с обеспечением концентрирования электромагнитного излучения биополя в узкий пучок для направления его на мелкий биологический объект.

7. Устройство по п.1, отличающееся тем, что в качестве источника биополя использованы молодые растения со сроком 1 2 недели от начала вегетации.

8. Устройство по п.1, отличающееся тем, что в качестве источника биополя использованы крупные и мелкие животные в возрасте до половины периода их развития



http://www.findpatent.ru/patent/209/2090613.html
© FindPatent.ru - патентный поиск, 2012-2016




https://youtu.be/xrRw7oVnls8?list=PLRPyGViXMX-90-n4BSOGTi4EPY2Jij108

https://youtu.be/Ri2WngpGkg8?list=PLRPyGViXMX-90-n4BSOGTi4EPY2Jij108

https://youtu.be/K1GIbiD7CLY?list=PLRPyGViXMX-90-n4BSOGTi4EPY2Jij108

https://youtu.be/AoEgDDDEX_I?list=PLRPyGViXMX-90-n4BSOGTi4EPY2Jij108

_________________
С уважением
Параков Игорь Иванович !


Последний раз редактировалось: Usin (Чт Окт 06, 2016 6:38 am), всего редактировалось 1 раз
Вернуться к началу
Посмотреть профиль Отправить личное сообщение Посетить сайт автора
Usin



Репутация: +2    

Зарегистрирован: 25.11.2012
Сообщения: 2285
Откуда: Ижевск

СообщениеДобавлено: Чт Окт 06, 2016 6:35 am    Заголовок сообщения: Ответить с цитатой

Способ получения новых форм растений и устройство для направленной передачи наследственной информации

Авторы патента:
Котов Борис Степанович
Гавинский Юрий Витальевич


Использование: в области получения новых культур растений путем изменения из наследственных признаков с помощью направленной передачи наследственной информации. Сущность: способ получения новых культур растений предусматривает использование в качестве объекта-излучателя 1-5-дневный проросток одного растения, а в качестве объекта-приемника - порцию семян другого растения, причем апикальную почку проростка размещают в одной из фокальных плоскостей экранирующей эллипсоидальной камеры-концентратора, а семена размещают на выходном конце волновода, входной конец которого установлен в другой фокальной плоскости камеры-концентратора, при этом ориентирование большой оси камеры-концентратора и выбор положения фокальных плоскостей осуществляют в соответствии с условием обеспечения отрицательного гравитропизма проростка. Проростком воздействуют на сухие семена растения-приемника. Процесс облучения осуществляют в течение 1-5 дней, при этом периодически контролируют величину удлинения проростка и перемещают камеру-концентратор в направлении его роста до попадания апикальной почки в фокальную плоскость. Устройство для реализации способа обеспечивает возможность направленной передачи наследственной информации и содержит выполненную из металла тонкостенную камеру-концентратор в виде эллипсоида вращения с внутренней отражающей поверхностью, волновод, введенный через горловину в полость камеры, и телескопически удлиняемую опору. В волноводе установлен стакан с семенами-приемниками излучения. Опора состоит из закрепленного на массивном основании стакана с грунтом, в который высаживается проросток, и втулки со стопорным винтом и указателем расположения апикальной почки проростка в нижней фокальной плоскости камеры-концентратора. 2 с. п. ф-лы, 3 з. п. ф-лы, 5 ил.

Изобретение относится к области получения новых культур растений путем изменения их наследственных признаков с помощью направленной передачи наследственной информации.

Известен способ модификации сортов картофеля, который заключается в том, что при совместной посадке двух сортов картофеля, различающихся по визуальным морфологическим признакам, один сорт подвергается доминирующему воздействию другого сорта и приобретает новые свойства, присущие доминирующему сорту [1] Известно устройство для направленной передачи наследственной информации, содержащее средство для размещения объекта-излучателя и объекта-приемника [2] Задачей настоящего изобретения является создание методических основ высокоэффективной обработки одних растений излучением других растений с целью изменения наследственных признаков и разработки рекомендаций по получению новых растений, определения оптимальных режимов облучения одного растения другим. Другой задачей является разработка более эффективного и конструктивно совершенного устройства для направленной передачи наследственной информации, позволяющего реализовать предлагаемый способ.

Технический результат изобретения выражается в разработке конкретных приемов обработки растений, создании конструкции, обеспечивающей методически обоснованное размещение объекта-излучателя и объекта-приемника относительно друг друга и камеры-концентратора не только в начале проведения процедуры облучения, но и на всем ее протяжении.

Сущность изобретения состоит в том, что в способе получения новых культур растений путем изменения их наследственных признаков, заключающемся в воздействии биологическим излучением одного растения на другое, в качестве биологического объекта-излучателя используют 1-5-дневный проросток одного растения, а в качестве объекта-приемника порцию семян другого растения, причем апикальную почку проростка размещают в одной из фокальных плоскостей экранирующей эллипсоидальной камеры-концентратора, а семена размещают на выходном конце волновода, входной конец которого установлен в другой фокальной плоскости камеры-концентратора, при этом ориентирование большой оси камеры-концентратора и выбор положения фокальных плоскостей осуществляют в соответствии с условием обеспечения отрицательного гравитропизма проростка. Проростком воздействуют на сухие семена растения-приемника. Процесс облучения осуществляют в течение 1-5 дней, при этом периодически контролируют величину удлинения проростка и перемещают камеру-концентратор относительно проростка в направлении его роста до попадания апикальной почки в фокальную плоскость. В устройстве для направленной передачи наследственной информации средство для размещения объекта-излучателя и объекта-приемника содержит металлическую тонкостенную камеру-концентратор в виде эллипсоида вращения с ортотропно ориентированной большой осью и с внутренней отражающей поверхностью, имеющей в вершинах, расположенных на большой оси, горловины, при этом камера установлена нижней горловиной с возможностью съема на телескопически удлиняемой опоре, содержащей укрепленный на массивном основании металлический стакан с грунтом для размещения объекта-излучателя в виде проростка и металлическую втулку с наружным буртиком для упора в него нижней горловины камеры-концентратора, охватывающую стакан с возможностью перемещения в осевом направлении и фиксации стопорным винтом, при этом в верхнюю горловину введен волновод для передачи излучения на биологический объект-приемник, причем волновод введен на глубину, обеспечивающую нахождение его внутреннего среза в верхней фокальной плоскости, а на наружном конце волновода установлен съемный металлический стакан для объекта-приемника в виде семян, причем стакан снабжен тонкой диэлектрической мембраной, отделяющей полость с семенами от полости волновода. На торце втулки, телескопически размещенной на стакане с проростком, укреплен указатель расположения апикальной почки проростка в нижней фокальной плоскости камеры-концентратора.

Изобретение поясняется чертежами, где на фиг. 1 приведена конструкция предлагаемого устройства, на фиг. 2-5 приведены в качестве примера фотографии новых культур полученных растений.

Суть способа заключается в следующем.

Предварительно подбирают пары растений одного семейства, например, картофель-томат, томат-паслен; огурец-тыква, огурец-дыня и т.п. Можно осуществить воздействие одним сортом на другой, например, крупноплодными томатами на более урожайные по количеству, но мелкоплодные томаты или томатами желтого цвета на красные. Но, как показывает практика, можно получить неожиданные результаты и при использовании отдаленных друг от друга растений, например, облучать чесноком огурцы, любистоком гречиху и др. Огромное разнообразие возможностей облучения одних растений другими открывается в картофелеводстве, овощеводстве, цветоводстве и т.д.

Как показывает практика, в качестве объекта-излучателя необходимо брать одиночный проросток, который выполняет роль задающего генератора, оказывающего когерентное воздействие синхронно на все семена колебаниями, возникающими при митозе клеток и передающими им одну и ту же генетическую программу. Проросток целесообразно использовать в качестве излучателя, начиная с первого дня выхода апикальной почки (апекса побега) выше поверхности грунта, но может быть использован и в более поздние сроки в пределах 1-5 дней, когда имеет место максимальная митотическая активность клеток апикальной почки. Проросток может быть некоторое время выдержан на свету для зеленения за счет хлорофилла или использоваться в состоянии этиоляции, при котором в условиях длительной темноты происходит быстрое и значительное удлинение первого междоузлия.

Вопрос о преимуществах использования проростка в качестве излучателя в гетеротрофной или автотрофной форме требует дополнительного исследования. Использовались проростки в автотрофной форме, т.е. зеленные, поскольку по литературным данным активность митоза клеток в таких проростках существенно выше, а следовательно выше и уровень излучения.

Проросток вводят верхушкой в камеру-концентратор, выполненную в виде металлической тонкостенной емкости, имеющей форму эллипсоида вращения, таким образом, чтобы апикальная почка проростка находилась в одной из фокальной плоскостей. Поскольку рост растений происходит по гравитационному полю (корень растет центростремительно, а побег центробежно), т.е. главный побег в большинстве случаев в течение всей жизни сохраняет первоначальный отрицательный гравитропизм, ориентацию большой оси камеры-концентратора и выбор положения фокальных плоскостей осуществляют следующим образом: большую ось располагают ортотропно (вертикально), при этом фокальная плоскость, в которой располагается апикальная почка, должна находиться в нижнем положении. Выполнение камеры-концентратора в виде металлической оболочки преследует своей целью использование ее в качестве экрана от внешних электромагнитных воздействий, т.е. в качестве ячейки Фарадея.

В качестве объекта-приемника используют порцию семян другого растения, наследственные признаки которого необходимо изменить, чтобы получить новую культуру. Для этих целей можно использовать замоченные (набухшие) или проклюнутые семена, которые после обработки облучением сразу же высаживают в грунт. Однако показано, что облучать можно и сухие семена, в которых также происходит изменение наследственных признаков. Полного объяснения этому эффекту пока не найдено, однако с точки зрения практической целесообразности преимущества облучения семян в сухом виде очевидны. Облучение можно производить задолго до высадки семян в грунт и хранить их, накапливая необходимое количество. Это позволяет осуществлять эксперимент одновременно с большим числом заранее облученных образцов по подбору и оптимизации режимов облучения семян конкретного растения.

Порцию семян объекта-приемника размещают на выходном конце волновода, входной конец которого введен в камеру-концентратор и располагается в его верхней фокальной плоскости.

Оптимальное время облучения, как показывает практика, составляет для различных пар растений 1-5 дней. Слишком малое время обработки может оказаться недостаточным для изменения наследственных признаков. Переоблучение же приводит к угнетанию растения-приемника и даже его гибели, что особенно часто имеет место при использовании замоченных и проклюнувшихся семян.

Поскольку проросток непрерывно удлиняется в направлении отрицательного гравитропизма (особенно велика скорость роста в состоянии этиоляции), апикальная почка быстро выходит из фокальной плоскости, что снижает долю излучения, попадающего на срез волновода, расположенного в другой фокальной плоскости. С целью компенсации этого фактора, в способе периодически осуществляют сдвиг камеры-концентратора на величину удлинения проростка в направлении его роста.

Устройство для направленной передачи наследственной информации и обеспечивающее реализацию данного способа содержит средство для размещения объекта-излучателя и объекта-приемника. Это средство содержит металлическую тонкостенную камеру-концентратор 1, выполненную в виде полого эллипса вращения с ортотропно ориентированной большой осью. Камера-концентратор 1 изнутри имеет отражающее покрытие из нитрида титана. В вершинах эллипсоида по его большой оси имеются горловины 2 и 3. Горловина 2 предназначена для введения в полость 4 камеры-концентратора 1 биологического объекта-излучателя в виде проростка 5, имеющего апикальную почку 6, а в верхней горловине 3 укреплен волновод 7, передающий излучение проростка 5 на биологический объект-приемник в виде порции семян 8. В нижнюю горловину 2 введен укрепленный на массивном основании 9 металлический стакан 10, заполненный грунтом 11, в который высажен проросток 5. В основании 9 выполнено дренажное отверстие 12. На цилиндрической части стакана 10 телескопически размещена металлическая втулка 13 с буртиком 14 для упора в него нижней горловины 2 камеры-концентратора 1. Втулка 13 может перемещаться вверх и вниз вдоль стакана 10. Положение втулки 13 на стакане 10 фиксируется с помощью стопорного винта 15, ввернутого в стенку другого буртика 16 в радиальном направлении. Наружный диаметр втулки 13 и внутренний диаметр горловины 2 таковы, что камера-концентратор 1 может свободно сниматься с втулки 13. При необходимости может быть предусмотрено их байонетное соединение (не показано). На торце втулки 13, телескопически размещенной на стакане 10, имеется выступ-указатель 17, конец которого при нахождении камеры-концентратора 1 на втулке 13 лежит в нижней фокальной плоскости F1. Сравнивая высоту проростка 5 относительно конца указателя 17, можно судить о нахождении апикальной почки 6 в плоскости F1 и при необходимости производить соответствующую корректировку положения камеры 1, освобождая винт 15 и перемещая втулку 13 в осевом направлении.

Волновод 7 нижней своей частью введен через верхнюю горловину 3 на глубину, обеспечивающую нахождение его среза в верхней фокальной плоскости F2 эллипсоида 1. На наружном верхнем конце волновода 7 установлен заполняемый порцией семян 8 съемный металлический стакан 18, закрываемый тонкостенной диэлектрической мембраной 19 с помощью кольца 20. В качестве диэлектрической мембраны используется тефлоновая пленка толщиной 0,05 мм диэлектрические свойства и толщина которой обеспечивают минимальные фазовые искажения и потери излучения при прохождении последнего от растения-излучателя к семенам.

Работу с устройством осуществляют следующим образом. Сняв камеру-концентратор 1 с втулки 13, наполняют грунтом 11 полость стакана 10 и высаживают в грунт замоченное обычным образом семя растения, являющегося объектом-излучателем. При появлении проростка 5 выше уровня грунта 11, освободив стопорный винт 15, перемещают втулку 13 вдоль стакана 10 до тех пор, пока апикальная почка 6 не станет на один уровень с концом указателя 17 что соответствует попаданию апикальной почки в фокальную плоскость F1 после надевания камеры 1 горловиной 2 на верхнюю часть (до буртика 14) втулки 13.

Одновременно стакан 18 заполняют порцией 8 семян, являющихся объектом-приемником излучения, закрепляют кольцом 20 диэлектрическую мембрану 19 и размещают стакан 18 на наружном верхнем конце волновода 7.

В первые дни жизни проростка 5 (в гетеротрофной или автотрофной формах) в нем имеет место максимальная митотическая активность верхушки побега, которая является сенсорным органом, воспринимающим направление света, других индуцирующих излучений, гравитационного поля и т.д. и управляет адаптивными двигательными реакциями побега. Одновременно с этим в процессе интенсивного клеточного деления в апикальной почке 6, которая, обладая высокой метаболической активностью, является доминирующим центром в отношении других участков проростка, создаются индуцирующие факторы химической и физической природы. Одним из таких факторов является испускаемое при клеточном делении излучение, оказывающее дистантное воздействие как на клетки самого проростка, так и на клетки соседних растений. Это излучение, как отмечалось ранее, имеет широкий спектральный диапазон. Кванты синего и ближнего ультрафиолетового света воздействуют на пигмент криптохром, а кванты красного света на фитохром, предопределяя развитие процессов фотоморфогенеза. Излучение миллиметрового диапазона длин волн возбуждает в клетках акустоэлектрические колебания, которые оказывают влияние, связанное с синхронизацией когерентными излучениями низкой интенсивности колебательных процессов в клетках. Синхронизация определяется формированием подструктур, соответствующих частоте внешнего сигнала. Синхронизация же приводит к усилению колебаний, определяемому, в частности, когерентным сложением ранее расфазированных или возбужденных на разных частотах источников колебаний и образованием высокоэффективного управляющего сигнала, способного определенным образом сориентировать или переориентировать процессы в клетках и даже отдельных органах. Поскольку характер деления в клетках определяется их митотическим циклом, в ранней стадии развития растения создаются ритмические процессы, включающие и контролирующие новые генетические программы. В упрощенном виде, именно этими процессами можно объяснить появление мутагенных факторов, способствующих изменению у растений наследственных признаков. При этом следует подчеркнуть, что помимо концентрирования в несколько сот раз потока излучения и обеспечения его однонаправленности, эллипсоидальная камера устройства, выполненная из металла (в совокупности с другими конструктивными элементами: волноводом, верхним и нижним стаканами), устраняет стохастические факторы, создаваемые внешними электромагнитными излучениями, поскольку образует ячейку Фарадея.

По мере удлинения проростка 5 его апикальная почка 6 выходит из фокальной плоскости F1, что может приводить к потере эффективности облучения семян 8, размещенных в стакане 18. Для предупреждения этого фактора периодически (через 12-24 часа) проверяют положение апикальной почки 6 относительно конца указателя 17, размещенного на втулке 13. С этой целью снимают камеру-концентратор 1 с втулки 13 и визуально оценивают величину прироста. При обнаружении последнего освобождают стопорный винт 15 и телескопически поднимают втулку 13 вверх вдоль стакана 10 до совпадения уровней конца указателя 17 и положения апикальной почки 6. После этого стопорным винтом 15 снова фиксируют положение втулки 13 на стакане 10 и на втулку надевают камеру-концентратор 1, которая упирается при этом срезом нижней горловины 2 в буртик 14. Новое положение проростка 5, втулки 13, указателя 17 и камеры 1 показаны на чертеже пунктирными линиями.

Спустя несколько дней развития проростка митотическая активность клеток в апикальной почке уменьшается и вместо процессов деления на первое место выступают процессы растяжения клеток, формирования и роста листьев, боковых побегов и т.д. Экспозиции до 5 дней, как правило, достаточно и для передачи облучаемым семенам новой генетической информации. В связи с этим дальнейшая обработка семян растения-приемника становится нецелесообразной. Обработанные семена растения-приемника 8 извлекают из стакана 18 и высаживают в грунт, либо накапливают для последующей высадки.

В качестве примера полученных с помощью предлагаемых способа и устройства результатов на фиг. 2-5 приведены новые культуры кукурузы, полученные при облучении ее семян проростком пшеницы. На фиг. 2 приведен пятиствольный кукурузный початок (пятый отросток не виден, расположен за центральным); на фиг. 3 трехствольный початок; на фиг. 4 початок, верхняя часть которого содержит пшеничные зерна; на фиг. 5 увеличенное изображение верхней части другого початка, на котором ясно видны пшеничные зерна, расположенные между кукурузными зернами. Получены и другие интересные результаты. В частности, при облучении томатов биополем картофеля в три раза возросла урожайность по сравнению с контрольными растениями. При облучении томатов физалисом были получены ребристые плоды (напоминающие пирамиду). Облученные лагинарией, кабачком, тыквой, чесноком огурцы имели совершенно другой вкус и запах по сравнению с контрольными. Облученные лагинарией огурцы хранились в свежем виде в течение 6 месяцев. Огурцы, облученные чесноком имели на 2 недели ускоренные сроки вегетации. Удивительный результат получен при облучении гречихи любистоком: гречиха унаследовала от любистока гигантский рост и выросла в виде деревца высотой 2 м.

Данное изобретение открывает широкие возможности перед генетиками и селекционерами при использовании предлагаемых способа и устройства. Этому способствует компактность и удобство в эксплуатации устройства, его невысокая стоимость, что позволяет освоить его широкий выпуск для использования как профессионалами, так и любителями.

1. Способ получения новых форм растений, включающий воздействие одного растения на другое, отличающийся тем, что воздействуют биологическим излучением одного растения на другое, при этом в качестве биологического объекта-излучателя используют 1 5-дневный проросток одного растения, а в качестве объекта-приемника порцию семян другого растения, причем апикальную почку проростка размещают в одной из фокальных плоскостей экранирующей эллипсоидальной камеры-концентратора, а семена размещают на выходном конце волновода, входной конец которого установлен в другой фокальной плоскости камеры-концентратора, при этом ориентирование большой оси камеры-концентратора и выбор положения фокальных плоскостей осуществляют в соответствии с условием обеспечения отрицательного гравитропизма проростка.

2. Способ по п.1, отличающийся тем, что проростком воздействуют на сухие семена растения-приемника.

3. Способ по п.1, отличающийся тем, что процесс облучения осуществляют в течение 1 5 дней, при этом периодически контролируют величину удлинения проростка и перемещают камеру-концентратор относительно проростка в направлении его роста до попадания апикальной почки в Фокальную плоскость.

4. Устройство для направленной передачи наследственной информации, содержащее средство для размещения объекта-излучателя и объекта-приемника, отличающееся тем, что средство для размещения объекта-излучателя и объекта-приемника содержит металлическую тонкостенную камеру-концентратор в виде полого эллипсоида вращения с ортотропно ориентированной большой осью и с внутренней отражающей поверхностью, имеющей в вершинах, расположенных на большой оси, горловины, при этом камера установлена нижней горловиной с возможностью съема на телескопически удлиняемой опоре, содержащей укрепленный на массивном основании металлический стакан с грунтом для размещения объекта-излучателя виде проростка и металлическую втулку с наружным буртиком для упора в него нижней горловины камеры-концентратора, охватывающую стакан с возможностью перемещения в осевом направлении и фиксации стопорным винтом, при этом в верхнюю горловину введен волновод для передачи излучения на биологический объект-приемник, причем волновод введен на глубину, обеспечивающую нахождение его внутреннего среза в верхней фокальной плоскости, а на наружном конце волновода установлен съемный металлический стакан для объекта-приемника в виде семян, причем стакан снабжен тонкой диэлектрической мембраной, отделяющей полость с семенами от полости волновода.

5. Устройство по п.1, отличающееся тем, что на торце втулки, телескопически размещенной на стакане с проростком, укреплен указатель расположения апикальной почки проростка в нижней фокальной плоскости камеры-концентратора.



http://www.findpatent.ru/patent/209/2090062.html
© FindPatent.ru - патентный поиск, 2012-2016



_________________
С уважением
Параков Игорь Иванович !
Вернуться к началу
Посмотреть профиль Отправить личное сообщение Посетить сайт автора
Usin



Репутация: +2    

Зарегистрирован: 25.11.2012
Сообщения: 2285
Откуда: Ижевск

СообщениеДобавлено: Чт Окт 06, 2016 6:42 am    Заголовок сообщения: Ответить с цитатой

Способ предпосевной обработки семян растений и установка для его осуществления

Авторы патента:
Котов Борис Степанович
Гавинский Юрий Витальевич


Использование: изобретение относится к растениеводству и млжет быть применено для повышения его продуктивности путем изменения наследственных признаков одних растений под воздействием биологического излучения других растений. Сущность изобретения: предварительно измеряют в спектральном диапазоне длин волн от 2 мкм до 2 мм плотность потока биологического излучения прорастающего контрольного семени растения-излучателя и определяют промежуток времени с момента окончания набухания до момента, при котором наблюдается спад плотности потока излучения после достижения второго максимума. После чего электромагнитную информационную стимуляцию семян растения-приемника осуществляют от семян растения-излучателя с момента окончания процесса их набухания в течение вышеуказанного промежутка времени с экранированием семян от внешних электромагнитных полей. Установка снабжена экранирующими камерами, выполненными в виде металлических полых тонкостенных эллипсоидов с внутренней отражающей поверхностью. Эллипсоиды размещены параллельно в одной плоскости на общем основании и большая ось каждого эллипсоида перпендикулярна плоскости их размещения на основании. Каждый эллипсоид имеет в вершинах горловины, в одной из которых установлена капсула для размещения проростка растения-излучателя с возможностью ее расположения в одной фокальной плоскости эллипсоида, а другая горловина выполнена в виде среза эллипсоида на уровне другой фокальной его плоскости с возможностью выведения сконцентрированного излучения проростка растения-излучателя на семена растения-приемника и с возможностью размещения последних на плоском металлическом поддоне, прилегающем к срезам эллипсоидов. 2 с. и 3 з.п. ф-лы, 2 ил.

Изобретение относится к растениеводству и может быть применено для повышения его продуктивности путем изменения наследственных признаков одних растений под воздействием биологического излучения других растений.

Наиболее близким техническим решением к заявляемому является кн. Лебедева П.Н. Экспериментальные исследования пондемоторного действия волн на резонаторы. Собр. сочинений, М., изд. АН СССР, 1963.

Задачей настоящего изобретения является создание метрологически обоснованного способа электромагнитной информационной стимуляции семян, позволяющего учитывать особенности испускания биологического излучения проростка растения-излучателя и восприятия его семенами растения-приемника. Другой задачей является разработка установки для предпосевной обработки семян с помощью электромагнитной информационной стимуляции, позволяющей получать их в количестве, достаточном для организации полупромышленной технологии с выращиванием в поле.

Технический результат изобретения выражается в выработке метрологически обоснованного критерия выбора режимов обработки семян с учетом максимальной митотической активности растения-излучателя и готовности растения-приемника к изменению наследственных характеристик. Результатом предложенного технического решения является также создание установки, пригодной для использования в опытном полеводстве, фермерских хозяйствах и т.д.

Сущность изобретения состоит в том, что в способе предпосевной обработки семян растений, включающем электромагнитную информационную стимуляцию биообъекта-приемника биологическим излучением биообъекта-излучателя, предварительно измеряют в спектральном диапазоне длин волн от 2 мкм до 2 мм плотность потока биологического излучения прорастающего контрольного семени растения-излучателя, определяют промежуток времени с момента окончания набухания до момента, при котором наблюдается спад плотности потока излучения после достижения второго максимума, а электромагнитную информационную стимуляцию семян растения-приемника осуществляют от семян растения-излучателя с момента окончания процесса их набухания в течение вышеуказанного промежутка времени с экранированием семян от внешних электромагнитных полей. Установка для предпосевной обработки семян растений, включающая экранирующие камеры для обеспечения исключения влияния внешнего электромагнитного воздействия и концентрации биологического излучения биообъекта-излучателя на биообъект-приемник, снабжена металлическим поддоном и капсулами для размещения растения-излучателя, а каждая экранирующая камера выполнена в виде металлического полого тонкостенного эллипсоида с внутренней отражающей поверхностью, причем эллипсоиды размещены параллельно в одной плоскости на общем основании и большая ось каждого эллипсоида перпендикулярна плоскости их размещения на основании, при этом каждый эллипсоид имеют в вершинах горловины, в одной из которых установлена капсула для размещения проростка растения-излучателя с возможностью ее расположения в одной фокальной плоскости эллипсоида, а другая горловина выполнена в виде среза эллипсоида на уровне другой фокальной его плоскости с возможностью выведения сконцентрированного излучения проростка растения-излучателя на семена растения-приемника и с возможностью размещения последних на плоском металлическом поддоне, прилегающем к нижним срезам эллипсоидов. В установке основание снабжено подъемным механизмом для перемещения эллипсоидов перпендикулярно основанию. Установка снабжена направляющими, а поддон снабжен механизмом для его перемещения вдоль направляющих параллельно основанию. В поддоне установки выполнены углубления для размещения слоя семян растения-приемника, по площади равные прилегающим к ним горловинам эллипсоидов с возможностью их совмещения.

На фиг. 1 представлена характерная кривая электромагнитного излучения прорастающего растения, получаемая из контрольного опыта и используемая для определения промежутка времени, необходимого для электромагнитной информационной стимуляции семян с целью сообщения им новых наследственных признаков; на фиг.2 - схема установки для предпосевной обработки семян.

С помощью специальной разработанной аппаратуры для измерения плотности потока сверхслабого биологического излучения получены кривые излучения, испускаемого всходами различных растений в диапазоне длин волн электромагнитного спектра от 2 мкм до 2 мм. Оказалось, что во время прорастания, т.е. в период максимальной митотической активности апикальных меристем побега и корня, растения испускают в данном диапазоне излучение, имеющее плотность в пределах от 0,510-12до 10-11 Вт/см2. Кривая излучения прорастающих растений имеет однотипный для различных видов характер (фиг.1) и включает два основных максимума А и Б (с характерными для каждого вида растений максимальными значениями интенсивности и длительностями). Нарастание интенсивности излучения в первом максимуме обусловлено делением клеток (митозом) апикальных меристем побега и корня, которое начинается через 1,0-1,5 сут после начала набухания замоченных семян. Продолжительность первого максимума составляет для различных растений 2 - 4 сут. Спад интенсивности в первом максимуме имеет место в результате того, что вместо процессов деления клеток начинает преобладать их растяжение. Этот максимум соответствует, как правило, росту проростка в темноте. В дальнейшем при воздействии различных индуцирующих факторов (рассмотрение которых выходит за рамки настоящей работы) происходит запуск новых генетических программ и начинается фаза интенсивного деления клеток апикальных меристем, связанная главным образом с ростом побега на свету. Длительность второго максимума составляет 2 - 6 сут, причем именно второй максимум, как показывают опыты, наиболее важен для передачи наследственных признаков другому растению (при соответствующих условиях экранирования от внешних электромагнитных воздействий). В последующем развитии растения наблюдаются и другие более мелкие максимумы В, Г и др., связанные с увеличением митотической активности на отдельных этапах роста, однако их практическое значение с точки зрения передачи наследственной информации требует дополнительных исследований. Их проведение затрудняется резким увеличением размеров растения-излучателя ко времени, приуроченному к появлению этих максимумов, что требует использования крупногабаритных экранирующих камер для проведения электромагнитной информационной стимуляции и снижает целесообразность практического применения данного фактора.

Определение в контрольном эксперименте продолжительности промежутка времени от момента набухания семени растения-излучателя до момента, при котором наблюдается спад плотности потока излучения после достижения второго максимума, позволяет использовать данную величину как критериальную при последующих приемах электромагнитной информационной стимуляции в соответствии с предлагаемым способом. С этой целью рабочее семя растения-излучателя, доведенное до стадии набухания и впоследствии периодически увлажняемое, помещают в одну из фокальных плоскостей экранирующей камеры-концентратора, имеющей эллипсоидальную форму, а в другую фокальную плоскость помещают сухие семена растения-приемника, которому необходимо передать новые наследственные признаки. Биологические объекты выдерживают в экранирующей камере в течение времени, ранее установленного для контрольного образца. После этого считают семена готовыми к высадке и либо сразу высаживают в грунт, либо хранят до начала посевной компании, поскольку обработанные семена "помнят" полученную информацию в течение нескольких месяцев (точный срок хранения информации пока не установлен). Это позволяет накапливать обработанные семена в течение зимнего периода даже при небольшой производительности установки для их стимуляции.

Описанный способ был проверен экспериментально при обработке семян ржи проростком пшеницы. От каждого из семян была получена многостеблевая рожь с числом стеблей от 6 до 37 и полновесными колосьями. У пшеницы, облученной рожью, количество стеблей достигало 43. При обработке семян табака сорта "Остролист", имеющего обычно высоту стеблей 40 - 50 см, проростком табака сорта "Трапезонд" были получены образцы высотой около 2 м. Уникальность полученных результатов дает возможность судить о перспективности развития предлагаемого подхода к повышению урожайности сельскохозяйственных культур.

Предлагаемый способ предпосевной обработки семян не требует энергетических затрат, безопасен для человека. Методически он родственен способу магнитной стимуляции. В то же время, в отличие от известных методов стимуляции семян лазерным, рентгеновским, СВЧ и другими видами излучений и полей, позволяющими повысить урожайность на 10 - 20%, предлагаемый способ электромагнитной информационной стимуляции дает возможность увеличить урожайность на сотни процентов. Это можно объяснить тем, что ранее применяемые методы стимуляции, несмотря на высокие уровни энергетического воздействия, действуют в узком частотном диапазоне и, как правило, не изменяют наследственных признаков обрабатываемых растений.

В результате же использования электромагнитной информационной стимуляции, не связанной с дополнительными энергетическими затратами, но оказывающей острорезонансное воздействие одновременно на многих частотах во всем диапазоне, характеризующем жизнедеятельность растений, последние приобретают новые наследственные признаки (большое количество стеблей, колосьев, початков, гигантский рост и т. д. ), которые и определяют резкое повышение их продуктивности.

Возникает ряд вопросов: какие же физические явления лежат в основе эффекта дистанционного взаимодействия растений; почему в естественных природных условиях не происходит указанного взаимодействия между генетически удаленными друг от друга биологическими объектами; какие искусственные условия предопределяют возможность передачи в одном поколении наследственных характеристик разнородных биологических объектов.

Достоверные ответы на поставленные вопросы пока не получены. В настоящее время могут быть предложены лишь гипотезы, основанные на некоторых теоретических предположениях и экспериментальных наблюдениях, содержащихся в отечественных и зарубежных публикациях, а также полученных авторами настоящей работы.

Для обоснования гипотезы о сущности рассматриваемого метода электромагнитной информационной стимуляции растений может быть использован радиофизический подход, предложенный авторами работы (Девятков Н.Д., Голант М.Б., Бецкий О.В. Миллиметровые волны и их роль в процессах жизнедеятельности. -М.: Радио и связь, 1991, 168 с. [1]), обобщяющей более чем 20-летний опыт применения в медицине и биологии генерируемых радиоэлектронными средствами когерентных излучений миллиметрового диапазона ("крайне высоких частот" - КВЧ).

Как известно, формообразующие процессы у растений (морфогенез), включающие заложение, рост и развитие органов, тканей и клеток, определяются клеточными взаимодействиями, которые индуцируют и поддерживают деление и рост клеток. Скорость, число, ориентация делений, интенсивность, длительность и направленность роста клеток являются основными переменными, определяющими форму органов и целого растения. Все эти процессы находятся под контролем систем регуляции и управления целого организма.

В частности, включение генетических программ может находиться под контролем ритмических процессов, одним из которых является митотический цикл.

Другим важнейшим индуцирующим фактором является электромагнитное излучение видимого спектра, которое, в отличие от клеток животного происхождения, оказывает на растительные клетки как энергетическое, так и сигнальное воздействие. Сигнальная функция света проявляется в очень малых дозах: несколько квантов света, поглощенные клеткой, могут определить ее дальнейшее развитие. Не останавливаясь на механизмах действия света на растение, отметим, что световой сигнал предопределяет фотоморфогенез, влияя на прорастание семян, диэтиоляцию, инициирование запуска новых генетических программ, ускорение или ингибирование деления клеток, развития клеток тканей, органов и целого растения.

Менее известным среди растениеводов является влияние на развитие растительных организмов другого индуцирующего фактора - высокоупорядоченных (когерентных) излучений малой (нетепловой) интенсивности с длиной волны 1... 10 мм (300...30 ГГц), которые, как предполагают авторы настоящей работы, и являются главным "виновником" полученных эффектов передачи наследственной информации от одного растения к другому. Предпосылкой для такой гипотезы является отмечаемая многими специалистами необычная эффективность действия на любые живые организмы (от бактерий до человека) указанного излучения.

Монохроматические (одночастотные) излучения рассматриваемого диапазона в окружающей природе отсутствуют, сквозь атмосферу они практически не проходят. Энергия квантов данного диапазона меньше энергии теплового движения атомов и молекул и на два порядка меньше энергии слабых водородных связей в живых организмах, т.е. они не способны оказывать энергетическое воздействие, подобное нагреву, и вызывать нарушения в тканях, как ионизирующие излучения. В то же время этот высокочастотный диапазон может быть использован для обработки большого объема информации.

В рамках радиофизической модели [1] показано, что именно когерентные волны обеспечивают информационный перенос в биологических системах. Этот факт является биологически целесообразным, поскольку наличие таких же излучений в окружающей среде нарушало бы работу информационной системы организма, внося помехи. Искусственное же воздействие электромагнитными когерентными волнами в КВЧ-диапазоне может играть важную роль в процессе жизнедеятельности живых систем и иметь общебиологическое значение. Многообразное благотворное влияние получаемого с помощью радиоэлектронных средств низкоинтенсивного КВЧ-излучения на живые организмы доказано при его применении в медицине (физиотерапия), биотехнологии (стимуляция биологически активных веществ микроводорослями), растениеводстве (предпосевная обработка семян приводит к росту биомассы, более дружным всходам посевов, раннему созреванию плодов) (Бецкий О.В. Миллиметровые волны в биологии и медицине. Радиотехника и электроника. 1993, т.38, вып. 10, с. 1760-1782).

Прямым способом доказать, что внутри организма информационный перенос излучения осуществляется миллимитровыми волнами, не представляется возможным. Однако доказательства этому можно получить косвенно, например, по такой интегральной характеристике, как длительность цикла деления клетки. Экспериментально на дрожжевых клетках показано [1], что синхронность их деления нарушается уже после нескольких митозов. В то же время, при воздействии внешним синхронизирующим когерентным излучением миллиметрового диапазона в течение времени, сопоставимого со временем цикла деления (от нескольких десятков минут до двух часов), синхронность деления клеток сохранялась в течение двух суток. Аналогичный эффект получается и без внешнего облучателя. Для этого достаточно тем или иным путем усилить излучение одних клеток и облучать им другие исследуемые клетки. При изменении в определенных пределах частоты воздействующего излучения пропорционально изменяется и длительность митотического цикла.

Важность этих доказательств состоит не только в подтверждении того, что передача информации между клетками происходит в миллиметровом диапазоне длин волн, но и в том, что именно сами клетки могут "навязывать" синхронизирующую частоту другим клеткам, различающимся по резонансным характеристикам. Учитывая, что время синхронизации составляет не менее времени длительности митотического цикла, можно оценить, что для растений, цикл деления клеток которых имеет продолжительность в пределах 20 - 270 ч, длительность информационной обработки должна составлять от суток до 10 - 12 сут.

В процессе своего существования живые клетки могут являться источниками и приемниками когерентного излучения миллиметрового диапазона. В исходном состоянии гомеостаза (при отсутствии внешних раздражающих воздействий и функциональных нарушений) клетки генерируют некогерентное шумоподобное излучение, обусловленное происходящими в них процессами метаболизма. При появлении различного рода отклонений, способных вызвать изменения в их функционировании, в частности при воздействии на них внешним когерентным излучением, имеющим мощность, превышающую некоторый пороговый уровень, создаются условия для возбуждения в клеточных мембранах определенных резонансных частот. Это приводит, с одной стороны, к синхронизации колебаний тех адгезированных с мембранной белковых молекул, резонансные частоты которых совпадают или близки к преимущественно возбуждаемым в мембранах частотам, а с другой стороны - к стягиванию к мембранам из цитоплазмы белковых молекул и формированию на них за счет сил адгезии подструктур, изменяющих резонансные частоты колебаний мембран и увеличивающих интенсивность колебаний на этих резонансах.

Возможно, что именно построение подструктур и их влияние на возбуждаемые в мембране акустоэлектрические волны определяет изменение характера прикрепления ДНК к мембране и ее ассоциации с молекулами белков, липидов и микроэлементов, а вместе с тем и смещение подвижных генов в геноме. Изменения в ДНК, в свою очередь, вызывают изменения в деятельности РНК по сборке белковых молекул. Поскольку ДНК прикрепляются к мембранам, последние могут служить антеннами, с помощью которых осуществляется возбуждение колебаний в ДНК.

Стягивание белковых молекул в подструктуры приводит к выравниванию частот генерируемых клетками колебаний, в результате чего они становятся сфазированными и их амплитуды могут суммироваться, что приводит к известному в биологии эффекту кооперативности. В этом случае, если биологическая система обладает усилительными свойствами в узких полосах частот, подобными режиму работы резонансных регенеративных усилителей, близкому к самовозбуждению, то монохроматические сигналы могут дополнительно ею усиливаться в соответствующих полосах. Мощность, необходимая для синхронизации сигналов, при таком процессе возбуждения много меньше мощности синхронизируемых колебаний.

Однако и эти усиленные сигналы еще слишком малы. Поэтому для приема организмов сверхслабых сигналов он должен иметь способность накапливать информацию в течение длительного времени. По мере увеличения числа адгезированных с мембранами белковых молекул и формирования подструктур резонансы становятся все более острыми, возрастает энергия, передаваемая белковыми молекулами мембране и излучаемая в пространство. В то же время уход определенных белковых молекул из цитоплазмы в процессе формирования подструктур выполнятся вновь образующимися молекулами, так что гомеостаз в клетках сохраняется. В результате вновь полученная информация запоминается клетками на долгое время, а клетки в результате произошедшей подстройки излучают когерентные волны уже в другом, "навязанном" им острорезонансном частотном диапазоне. Следовательно, перестроенные таким образом клетки способны генерировать другие генетические программы, свойственные организму, который передал им эту новую информацию.

Поскольку совокупность клеток создает кооперативные эффекты, дистанционная передача полученной клетками информации (особенно при плотном их контактировании) с помощью электромагнитных волн, длина которых на три порядка больше размеров клетки, обеспечивает единообразие сигналов, воспринимаемых всеми клетками в достаточно большой окрестности. В результате можно ожидать подобия в изменении условий существования клеток, а следовательно, и изменения форм органов и организма в целом.

Необходимо учитывать, что кроме межклеточной передачи информации когерентными волнами, управляющее воздействие, изменяющее морфогенез всего организма, может передаваться на большие расстояния по специализированным каналам. Для растений такими каналами являются проводящие пучки тканей, физиологические ритмы различной амплитуды и длительности, полярность и физиологические градиенты, дистанционное воздействие доминирующих апикальных центров, электротонические потенциалы и токи электрофизической системы регуляции, а также объединяющие указанные компоненты сложные регуляторные контуры с многочисленными обратными связями.

Объяснения, касающиеся возможного процесса внутриорганизменной передачи информации с помощью когерентных волн миллиметрового диапазона, не могут быть распространены на информационный обмен между соседними растениями. Это обусловлено тем, что плотность потока излучаемых клетками когерентных волн уже на малом расстоянии от их поверхности снижается на 12 порядков, причем это снижение сопровождается стохастизацией излучения, т.е. превращением когерентного излучения в шумовое. Поэтому вне организма эти волны на фоне мощных тепловых излучений принять не удается. Действие указанных когерентных волн на живые организмы заметно лишь на расстояниях, меньших /4( - длина электромагнитной волны в окружающей среде). Судя по отрицательным результатам многих экспериментов, влияние многоклеточных организмов друг на друга с помощью излучений этого диапазона не осуществляется.

Это утверждение, видимо, справедливо для обычных условий существования биологических объектов в окружающей среде. Действительно, в природных условиях уровень стохастических шумов, которые генерируются различными биологическими объектами животного и растительного происхождения, весьма высок. Кроме того, существует множество других природных и созданных человеком источников, генерирующих электромагнитный стохастический фон. Поэтому развитие животных организмов генетически запрограммировано на их существование в условиях подобного электромагнитного континуума.

Если же биологические объекты, например, в форме проростков поместить в экранирующую камеру Фарадея (окружить их металлической оболочкой), то их развитие будет происходить вне электромагнитного континуума, т.е. в условиях, существенно отличающихся от естественных. Блокирование внешних электромагнитных волн имеет двоякое значение. Во-первых, для растений создается стрессовая ситуация с точки зрения изменения условий существования, что согласно принципу Ле-Шателье приводит к побуждению генерации клетками сигналов управления, направленных к максимально возможному снижению эффекта сил, нарушивших устойчивое состояние, т.е. к гомеостазу. Во-вторых, в экранирующей камере будет существовать только фон, образуемый слабым когерентным излучением миллиметрового диапазона, испускаемым проростками в процессе формирования белковых подструктур и генерации интенсивных острорезонансных колебаний. В результате создаются условия для преобладающего биологического влияния именно этих излучений. При взаимном облучении в течение нескольких суток нахождения растений в экранирующей камере на мембранах клеток происходит процесс наращивания подструктур из белковых молекул, что приводит к изменению частот и синхронизации автоколебаний на определенных резонансах, каждый из которых отвечает за конкретную сторону их биологической активности. Наращивание подструктур приводит к взаимному запоминанию переданной друг другу информации, в результате чего объекты, извлеченные из камеры, начинают развиваться по скорректированным генетическим программам.

Для наглядности пояснений растения (особенно в ювенильном этапе) могут быть уподоблены двум человеческим индивидуумам, безуспешно пытающимся объясниться друг с другом на разных языках шепотом в шумной толпе. Если же их поместить на длительное время в звукоизолированное помещение, то после некоторого стресса они не только начинают понимать друг друга, но и формируют со временем типологический характер с общими признаками (поведение, привычки и т. д. ), которые сохраняются и после их выхода из помещения. Естественно, такая дальняя антропоморфная аналогия не претендует на научное объяснение описываемых явлений.

Эффекты электромагнитного информационного энергообмена могут быть целенаправленно усилены за счет рациональной конструкции экранирующей камеры и использования некоторых методических приемов. В частности, выполнение экранирующей камеры в виде концентратора позволяет во много раз увеличить интенсивность когерентного излучения, испускаемого растением-излучателем и воспринимаемого растением-приемником.

Полученные и описанные выше практические результаты по электромагнитной информационной стимуляции растений, а также изложенная гипотеза о природе их дистанционного взаимодействия, основанная на радиофизическом подходе, позволили разработать описываемую ниже установку для получения стимулированных семян в количестве, обеспечивающем переход от экспериментов с отдельными растениями и небольшими делянками к полевым условиям их выращивания.

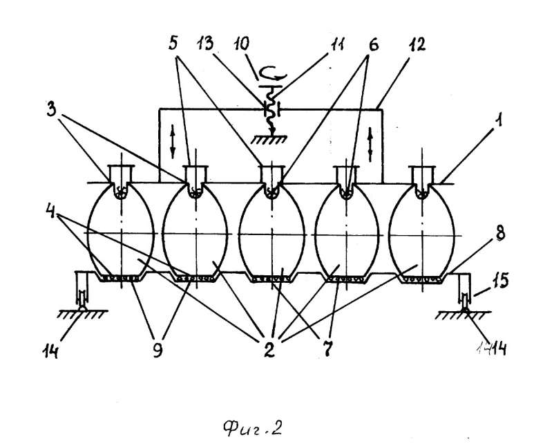
Установка (фиг.2) содержит набор параллельно размещенных в одной плоскости на общем основании 1 металлических полых тонкостенных эллипсоидов 2, число которых может достигать нескольких десятков, при этом их большие оси ориентированы перпендикулярно основанию. Эллипсоиды 2 образуют миниатюрные экранирующие камеры Фарадея, во внутренний объем которых не проникает внешнее электромагнитное поле. Внутренняя поверхность эллипсоидов выполнена с высокой отражающей способностью. Эллипсоиды 2 имеют в вершинах горловины 3 и 4. Верхние горловины 3 служат для ввода в фокальные плоскости эллипсоидов 2 капсул 5 с проростками растения- излучателя 6. Капсулы 5 выполнены таким образом, что их выступающая за пределы горловины часть изготовлена из металла, а нижняя часть, обращенная в сторону полости эллипсоида, - из диэлектрического материала, прозрачного к биологическому излучению. Нижние горловины 4 выполнены в виде среза эллипсоида на уровне нижней фокальной плоскости и служат для выведения сконцентрированного излучения растения-излучателя 6 на семена растения-приемника 7, размещаемые в 2 - 3 слоя на плоском металлическом поддоне 8, прилегающем к нижним горловинам 4 эллипсоидов 2. Для удобства размещения семян 7 ровным слоем в нижней фокальной плоскости каждого эллипсоида в поддоне 8 выполнены углубления 9, по площади примерно равные нижним горловинам 4 и имеющие идентичное с ними пространственное расположение. Поскольку максимальная плотность размещения эллипсоидов 2 имеет место при их креплении на основании 1 в шахматном порядке, то и углубления 9 расположены на поддоне в том же порядке. Установка снабжена подъемным механизмом 10, который может представлять собой винт 11 с рукояткой, опирающейся своим концом в подпятник. Основание 1 с помощью коромысла 12, прикрепленного к ходовой гайке 13, расположенной на винте 11, может подниматься и опускаться на некоторое расстояние относительно поддона 8. Поддон 8 снабжен механизмом для его перемещения вдоль направляющих 14, который выполнен в виде каретки 15 с системой роликов для ее перемещения в горизонтальной плоскости параллельно основанию 1 с эллипсоидами 2.

Устройство работает следующим образом.

Для проведения цикла электромагнитной информационной стимуляции семян одного растения биологическим излучением другого растения извлекают капсулы 5 из горловин 3 эллипсоидов 2 и помещают в них по одному предварительно замоченному и прошедшему стадию набухания семени растения-излучателя, после чего капсулы снова вводят в горловины. Вращая рукоятку винта 11 подъемного механизма 10, поднимают вверх на некоторое расстояние основание 1 с эллипсоидами 2. Выдвинув в положение "на себя" каретку 15 с поддоном 8, заполняют в 2 - 3 слоя сухими семенами 7 растения-приемника углубления 9 в поддоне 8. Каретку 15 с поддоном 8 снова откатывают в исходное положение и опускают механизмом 10 основание 1 в нижнее положение таким образом, чтобы нижние горловины 4 эллипсоидов 2 попали в углубления 9 и прижались к ним по периметру, замыкая экранирующий контур камеры Фарадея. В таком состоянии установка находится в течение всего цикла обработки семян, длительность которого определяется по результатам проращивания контрольного семени растения-излучателя, измерения плотности потока его излучения в спектральном диапазоне от 2 мкм до 2 мм и определения момента завершения спада второго максимума кривой излучения. Длительность цикла в зависимости от вида растения составляет 4 - 10 сут. В течение цикла обработки периодически увлажняют проростки растения-излучателя в капсулах 5, а семена в углублениях 9 поддона 8 слегка ворошат для обеспечения равномерности облучения. После завершения цикла обработки семена считают готовыми к высадке и либо высаживают в грунт, либо накапливают к посевной кампании.

Разработанная установка описанной конструкции "Бионик-95" имеет 50 рабочих камер и обеспечивает обработку примерно 2,5 кг семенного материала за один цикл. В течение зимнего периода с помощью одной установки можно подготовить к посеву 50 - 75 кг семян с измененными наследственными характеристиками.

1. Способ предпосевной обработки семян растений, включающий электромагнитную информационную стимуляцию биообъекта-приемника биологическим излучением биообъекта-излучателя, отличающийся тем, что предварительно измеряют в спектральном диапазоне длин волн от 2 мкм до 2 мм плотность потока биологического излучения прорастающего контрольного семени растения-излучателя, определяют промежуток времени с момента окончания набухания до момента, при котором наблюдается спад плотности потока излучения после достижения второго максимума, а электромагнитную информационную стимуляцию семян растения-приемника осуществляют от семян растения-излучателя с момента окончания процесса их набухания в течение указанного промежутка времени с экранированием семян от внешних электромагнитных полей.

2. Установка для предпосевной обработки семян растений, включающая экранирующие камеры для обеспечения исключения влияния внешнего ее электромагнитного воздействия и концентрации биологического излучения биообъекта-излучателя на биообъект-приемник, отличающаяся тем, что она снабжена металлическим поддоном и капсулами для размещения растения-излучателя, а каждая экранизирующая камера выполнена в виде металлического полого тонкостенного эллипсоида с внутренней отражающей поверхностью, причем эллипсоиды размещены параллельно в одной плоскости на общем основании и большая ось каждого эллипсоида перпендикулярна плоскости их размещения на основании, при этом каждый эллипсоид имеет в вершинах горловины, в одной из которых установлена капсула для размещения проростка растения-излучателя с возможностью ее расположения в одной фокальной плоскости эллипсоида, а другая горловина выполнена в виде среза эллипсоида на уровне другой фокальной его плоскости с возможностью выведения сконцентрированного излучения проростка растения-излучателя на семена растения-приемника и с возможностью размещения последних на плоском металлическом поддоне, прилегающем к срезам эллипсоидов.

3. Установка по п.2, отличающаяся тем, что основание снабжено подъемным механизмом перемещения эллипсоидов перпендикулярно основанию.

4. Установка по п.2, отличающаяся тем, что она снабжена направляющими, а поддон снабжен механизмом для его перемещения вдоль направляющих параллельно основанию.

5. Установка по п.2, отличающаяся тем, что в поддоне выполнены углубления для размещения слоя семян растения-приемника, по площади равные прилегающим к ним горловинам эллипсоидов с возможностью их совмещения.



http://www.findpatent.ru/patent/210/2108028.html
© FindPatent.ru - патентный поиск, 2012-2016





_________________
С уважением
Параков Игорь Иванович !
Вернуться к началу
Посмотреть профиль Отправить личное сообщение Посетить сайт автора
Показать сообщения:   
Начать новую тему   Ответить на тему    Список форумов У-Син -> Сопутствующие методы лечения Часовой пояс: GMT
Страница 1 из 1

 
Перейти:  
Вы не можете начинать темы
Вы не можете отвечать на сообщения
Вы не можете редактировать свои сообщения
Вы не можете удалять свои сообщения
Вы не можете голосовать в опросах